「透视表」小程序
「透视表」小程序(下文简称「透视表」)是一个快速对明细数据表进行分类汇总的数据分析工具。
官方小程序 开源
使用场景
- 场景一:门店销售管理中的门店销售额统计

- 场景二:项目管理中的人员任务数统计

场景三:进销存管理中的商品进出库统计

场景四:客户管理中的客户分类统计

- 场景五:防疫管理中的组织接种情况统计

总结来说,只要是想对数据进行多个维度的分类汇总,透视表是非常直观的方式。
添加小程序
- 方式一
打开一张维格表,点击右侧的「小程序」按钮展开「小程序面板」,然后点击「添加小程序」按钮。

在出现的「小程序中心」添加「透视表」。 
- 方式二
在「仪表盘」中添加「透视表」,选择「导入」或者「添加」小程序: 1.「导入」是将维格表中已经生成的「透视表」复制一份到仪表盘;
2.「添加」是在「仪表盘」创建新的「透视表」。

配置小程序
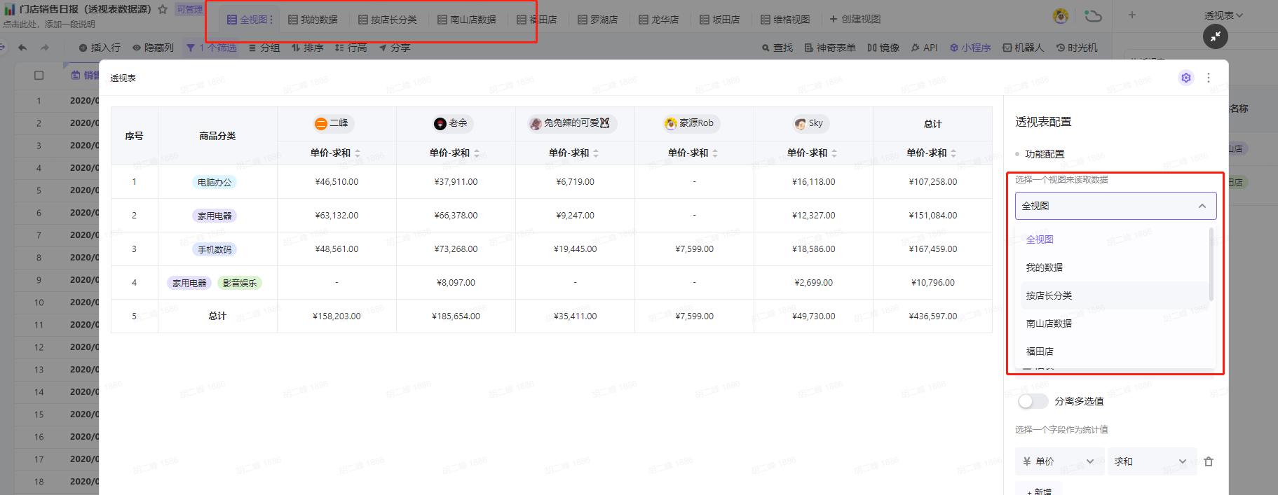
选择视图
你可以在「选择一个视图来读取数据」一栏的下拉菜单选择维格表内已有的视图。图形上渲染的数据受所选视图的筛选项影响。如果对应视图筛选过滤了一些数据,那么在图形上也不会渲染出来。

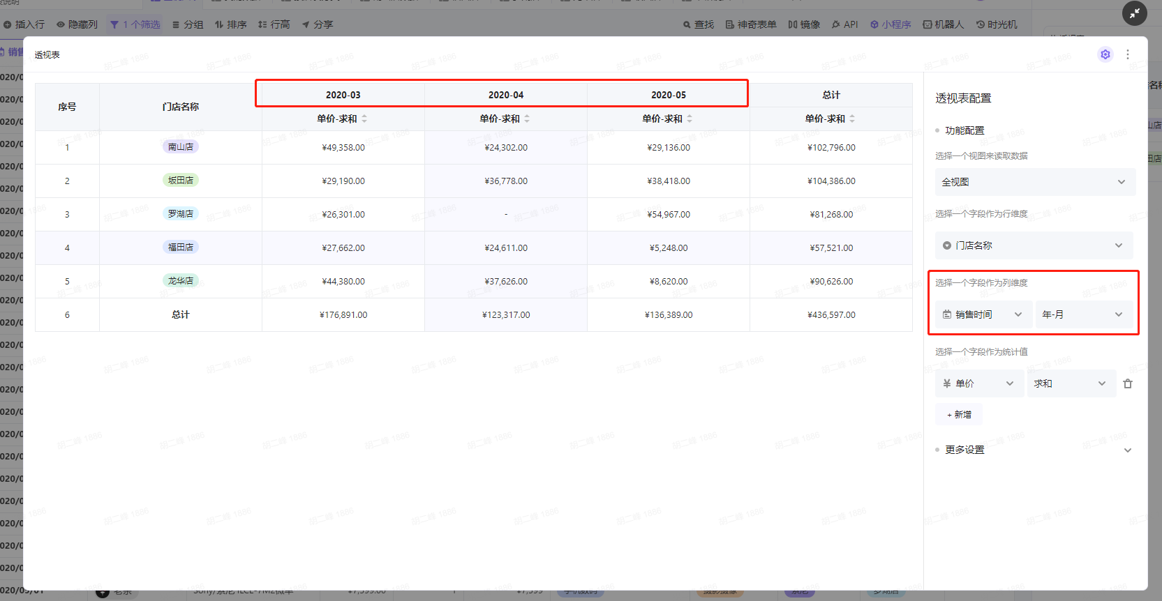
选择行维度
选择“行维度”后会渲染为透视表中行。比如我们选择行维度为“门店名称”,则透视表的行会分类为“南山店”、“坂田店”、“罗湖店”...
目前透视表仅允许设置 1 个行维度。

选择列维度
选择“列维度”后会渲染为透视表中列。比如我们选择列维度为“销售时间”,则透视表的行会分类为“2020-03”、“2020-04”、“2020-05”...
目前透视表仅允许设置 1 个列维度。

选择统计值
选择“统计值”后会为渲染表中的数值,我们需要选择“数值类型”的字段作为统计值,并选择统计方式:求和、最大值、最小值、平均值...
比如我们选择统计值为“销售额”,统计方式为“求和”,则透视表渲染的每个单元格的数值含义为: “南山店”在“2020-03”的销售额总和为“¥ 286,411”...
目前透视表仅允许设置 2 个统计值。

日期格式化
当你选择的行(列)维度为 “日期” 类型的字段时,可以选择 “格式化日期”。
比如下图以 “销售时间” 作为列维度,可以格式化 “年-周”、“年-月”、“年-季度”、“年” 等展示形式。

分离多选值
当你选择的行(列)维度为 “多选” 类型的字段时,可以使用 “分离多选值” 控件将单元格内的多个选项拆分为单独的分类进行显示。“多选” 类型的字段包括:多选、成员、单向关联、双向关联等。
比如下图以 “商品分类” 作为行维度,“2020-03”有一笔销售订单的商品是同时属于“家用电器”、”影音娱乐“这两个大类的。

我们开启”分离多选值“后,这笔订单就会被分别拆分到“家用电器”、”影音娱乐“两个分类中。即“家用电器”和“影音娱乐” 都会记一笔“¥26,690”的销售额。

显示总计
开启“显示总计”后,可以看到行(列)维度下每个分类的总计。 比如下图中: 我们能从行的总计看出“家用电器”的总销售额为“¥ 1,097,906” 我们能从列的总计看出“2020-03”的总销售额为“¥ 955,226”

设置排序
- 方式一:右侧配置菜单下,设置两个维度的排序:行维度、列维度
- 行维度:下图中的“商品分类”名称之间的排序
- 列维度:下图中的“销售日期”之间的排序
- 方式二:左侧图形区,统计值名称右方排序图标
- 排序规则有三种:
- 默认:即系统读取数据的顺序
- 正序排序:文本按“A-Z”排序、数值按“1-9”排序
- 倒序排序:文本按“Z-A”排序、数值按“9-1”排序
